Должно соответствовать признанным границам Армении: Пашинян - о ликвидации изображения Арарата с пограничных штампов
ЕРЕВАН, 18 сентября. Новости-Армения. Премьер-министр Армении Никол Пашинян прокомментировал решение о ликвидации изображения горы Арарат с пограничных штампов.
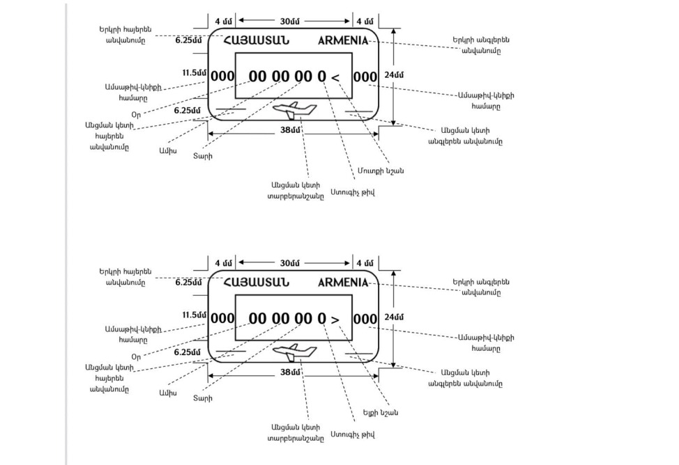
Данное решение принято правительством Армении 11 сентября 2025 года и вступит в силу с 1 ноября текущего года.
«В переговорах между Арменией и Турцией подобный вопрос не обсуждался и не может обсуждаться», - сообщил Пашинян на брифинге в четверг.
По его словам, проблема со штампом в армянских паспортах начала обсуждаться несколько месяцев назад, когда не было практической договоренности о визите эмиссара Турции по нормализации армяно-турецких отношений в Армению.
«В нашей стратегии безопасности ключевым является фактор легитимности. Он заключается в том, что мы сами должны признать и признаем территориальную целостность и суверенитет Армении в рамках ее международно признанной территории и границ. Все это делается для обеспечения долговечности нашего государства», - сказал Пашинян.
Премьер заявил, что «если вдруг выяснится, что мы хотим отразить что-то в штампе, то это однозначно должно быть связано с международно признанной территорией Армении.
«Может быть обсуждено, если вдруг возникнет необходимость», - сказал Пашинян, добавив, что в настоящий момент не видит такой необходимости.
